豆豆网

 找回密码
 立即注册

QQ登录

只需一步,快速开始

查看: 2576|回复: 0

一份地标建筑190M交通大厦给排水消防CAD施工图纸(42层)(室外消火栓系统)

[复制链接]

0

主题

0

帖子

774

积分

超级版主

Rank: 8Rank: 8

积分
774
发表于 2020-2-18 09:01:22 | 显示全部楼层 |阅读模式

该帖子包含附件可供参考学习和下载,您可以 搜索 更多您想要的资源


  • 建筑类别:交通建筑
  • 建筑高度类型:超高层建筑
  • 建筑地上层数:42层
  • 建筑地下层数:5层
  • 图纸设计深度: 施工图
  • 参考图纸:54张
  • 设计年代:近代
  • 地下室用途:车库,设备用房
  • 生活供水设计:生活给水系统
  • 生产供水设计:热水系统
  • 排水设计:污水系统,废水系统,雨水系统
  • 消防设计 :室外消火栓系统,室内消火栓系统,灭火器配置系统
  • 供水分区:四区以上
  • 排水体制:污废合流,雨污分流
  • 排水技术:重力排水
  • 雨水重现期:10年
  • 大样节点:水箱,泵房,卫生间,集水坑,阀门管件,设备房布置
  • 项目所在地:安徽
一、项目概要及设计范围
该项目位于合肥市,工程的设计规模及项目组成 项目总占地面积为8468m2,净占地面积为7366m2,总 建筑面积 约95036m2;基地内建设一栋近175.8m超高层办公楼,共41层,其中地上1~4层为精品商业,5层~41层为办公用房。地下24m,共5层,其中-1~-2层为地下商业,-3~-5层为设备用房及停车场。停车330辆,人防异地建设。
设计范围包括:建筑用地红线范围内的生活及消防给排水设计。其中包括:1、生活给水及热水系统;2、室内、外消火栓给水灭火系统; 3、自动喷水灭火系统;4、生活污、废水排水系统;5、雨水排水系统等内容。
二、系统设计
1.生活给水系统:
1)采用市政自来水为供水水源,供应本建筑生活和消防用水。本区市政给水管网供水压力为0.30MPa。设计分别从胜利路及长江东路引入市政给水管,其中两路DN200专供本区室外消防用水;
2)商业给水按使用功能及用水要求分为两个区:a、3F及以下楼层用水由市政管网直接供水;b、4F用水由设于地下负四层泵房生活水箱经变频调速给水泵组加压供给;
3)办公供水:办公给水分为五个区,分别采用变频直供方式供给。
2.生活污、废水系统:
1)采用污、废合流,至室外后经化粪池处理后,排入市政污水管网;
2)卫生间污废水管道系统设有专用通气立管,结合通气管每层与通气立管连接;
3)消防电梯排水以及地下设备机房内的废水分别排至集水池,再由潜污泵分别提升至室外检查井中,潜污泵由集水井池内的水位继电器自动控制启闭。
4)主楼屋面及裙房屋面均采用87式雨水斗重力流排水系统,雨水采用内排水系统;
5)暴雨强度按合肥市暴雨强度公式计算。屋面暴雨重现期按P=20a设计, 建筑专业 预留溢流口,按重现期P=50a复核;汽车坡道末端雨水设提升设备提升至室外雨水管网,雨水泵设不间断动力供应,设计重现期P=50a;
3.闭式自动喷水灭火系统:
a.自动喷水灭火系统采用水池-低区喷淋水泵-低区喷淋管网;水池-转输消防水泵-消防转输水箱-高区喷淋泵-高区喷淋管网。给水为临时高压系统,供水按竖向标高分三个区。分区内水流指示器前超0.4MPa处设减压孔板;
b.三区消防按同一时间内火灾次数为一次设计,地下室消防储水量按储存一次全部用水量储存600m3(分为两格)。水池的水源补给由市政水源供给。
... ...
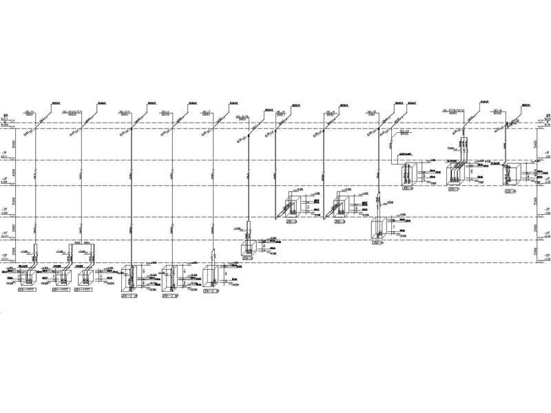
三、图纸展示

地下室集水坑排水原理图


地下部分负二层喷淋 平面图
地下部分负一层喷淋平面图
地上部分二~三层给排水平面图
地上部分给水系统原理图
地上部分机房层给排水平面图
地上部分消火栓系统原理图
地下室消火栓系统原理图

一体化污水提升设备安装示意图
地上部分二~三层给排水平面图
大厦建筑给排水 - 1
第 1 张图
大厦建筑给排水 - 2
第 2 张图
大厦建筑给排水 - 3
第 3 张图
大厦建筑给排水 - 4
第 4 张图
大厦建筑给排水 - 5
第 5 张图
大厦建筑给排水 - 6
第 6 张图
大厦建筑给排水 - 7
第 7 张图
大厦建筑给排水 - 8
第 8 张图
以上是部分图纸截图,有些图框没有放大后再截图,可能截图里不清晰或者看不到内容,您可以在下载后查看具体内容

温馨提示:该资料由网友于2020-2-18 09:01:22上传分享,您可以下载该资料进行学习和参考,如有侵权内容或者违法行为,请及时联系站长删除,如有疑问,您可以在给水排水专区发帖交流相关知识。

附件2099v11edewffsees2e022fcff.rar

9.76 MB

下载  售价: 100 积分    赚积分

大厦建筑给排水相关帖子

回复

使用道具 举报

您需要登录后才可以回帖 登录 | 立即注册

本版积分规则

QQ|联系我们|豆豆网 ( 苏ICP备20004746号-1 )

GMT+8, 2025-11-16 17:52 , Processed in 0.057060 second(s), 27 queries .

本站所有内容均由网友自主分享,如有侵权内容或者违法行为,请及时联系站长删除,本站将根据实际情况进行积分奖励!请查看:免责声明

快速回复 返回顶部 返回列表