| 
 该帖子包含附件可供参考学习和下载,您可以 搜索 更多您想要的资源   
 
  - 
   项目所在地:云南
  
 
  - 
   
    施工组织设计
   
   类型:投标
  
 
  - 
   设计速度:20km/h
  
 
  - 
   路基宽度:5.0m
  
 
  - 
   主体工程内容:通道
  
 
  - 
   路基支挡结构:混凝土挡土墙
  
 
  - 
   质量目标:合格
  
 
  - 
   编制时间:近代
  
 
  
 
  
   附件详情
   
  
   - 
    第一章  编制依据
   
 
   - 
    一、编制依据
   
 
   - 
    二、编制原则
   
 
   - 
    第二章  项目概要
   
 
   - 
    一、项目地理位置
   
 
   - 
    二、项目区地形地貌
   
 
   - 
    三、工程设计概况
   
 
   - 
    第三章 施工部署
   
 
   - 
    一、施工总体部署
   
 
   - 
    二、施工目标
   
 
   - 
    三、施工组织管理机构
   
 
   - 
    四、施工平面布置
   
 
   - 
    五、设备配备
   
 
   - 
    六、劳动力部署
   
 
   - 
    七、施工进度计划
   
 
   - 
    第四章 施工准备工作
   
 
   - 
    一、施工准备工作计划
   
 
   - 
    二、施工技术准备
   
 
   - 
    三、施工物质条件生产准备
   
 
   - 
    四、施工现场准备
   
 
   - 
    第五章 施工技术方案、施工程序及工艺方法
   
 
   - 
    一、路基开挖
   
 
   - 
    二、路基填筑
   
 
   - 
    三、排水工程
   
 
   - 
    四、涵洞工程
   
 
   - 
    五、防护工程
   
 
   - 
    六、路面工程
   
 
   - 
    第六章 工程质量保证措施
   
 
   - 
    一、质量承诺
   
 
   - 
    二、工程质量保证体系
   
 
   - 
    三、质量管理
   
 
   - 
    四、主要工序质量保证措施
   
 
   - 
    第七章 保证工程安全的措施
   
 
   - 
    一、安全生产管理体系
   
 
   - 
    二、安全管理机构及责任制
   
 
   - 
    三、安全管理措施
   
 
   - 
    四、主要工序安全生产措施
   
 
   - 
    第八章 工期保证措施
   
 
   - 
    一、工期承诺及工期违约承诺
   
 
   - 
    二、进度计划实施的保证措施
   
 
   - 
    三、工期保证体系
   
 
   - 
    四、工期保证措施
   
 
   - 
    第九章 文明施工及环境保护措施
   
 
   - 
    一、文明标化环保管理体系
   
 
   - 
    二、目标
   
 
   - 
    三、文明施工措施
   
 
   - 
    四、环保水土保持方案
   
 
   - 
    五、环保水土保持措施
   
 
   
  
 
  
   附件详情
   
  
   1、主要技术标准表
    
   公路等级 农村公路基本级
    
   计算行车速度 20km/h
    
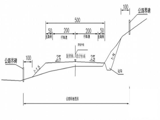
   路基宽度 5.0米(0.5+2.00×2+0.5)
    
   最大纵坡 12%
    
   设计荷载 公路-Ⅱ
    
   路面标准 砂石路面
    
   2、路基工程
    
   路线基本沿山腰展线,全线路基多为半挖半填路基,局部跨越箐沟路段为全填路堤,路基宽5.0米,横断面形式为:0.5米(土路肩)+2.00米×2(行车道)+0.5米(土路肩)。
    
   3、路基防护
    
   本项目路基防护工程主要在路基下边坡设置下挡墙,以稳定路堤、减少土石方工程量和占地面积、防止水流冲刷路基,其型式采用重力式浆砌片石挡土墙,挡土墙墙背填料采用渗水性好的砂性土、砂砾等材料。
    
   4、路基排水
    
   综合考虑地表排水和地下排水,使各种排水设施形成一个功能齐全,并有足够排水能力的完整排水系统。全线设置梯形土质边沟。
    
   5、涵洞
    
   考虑到本项目工期紧张,拟采用圆管涵,在跨越箐沟地段设置圆管涵,以满足路基横向排水,全线共设置圆管涵7座。
    
   6、路面
    
   采用砂石路面,面层厚15cm。
    
   ……
    
   一、路基开挖
    
   (一)施工方法
    
   1、
   
    土方开挖
   
    
   采用“纵向开挖法”,分层呈台阶式开挖,在本桩100m以内的利用方采用推土机推送,运距远的利用方、弃方采用挖掘机挖装,自卸车运输。
    
   2、石方开挖
    
   该项目石方量较大,强度低的石方可直接用推土机带松土器或挖掘机开挖,强度高的石方开挖采用水平台阶深孔控制爆破法施工,边坡处预留光爆层进行二次爆破,以保证边坡稳定。装碴使用装载机,自卸车运输。
    
   ……
    
   测量施工安全实施措施
    
   测量钉桩要注意周围行人的安全,不得对面使锤、钢钎和其它工具,不得随意抛掷。
    
   测量人员在高压线附近工作时,必须保持足够安全距离。遇雷雨不得在高压线、大树下停留。
    
   在高空测量时必需系好安全带,脚穿软底轻便鞋,在没上下登高和安全防护的情况下,不得进行测量工作。
    
   ……
    
   3、石方爆破
    
   该项目石方开挖量较大,石方爆破要严格控制飞石距离。石方采用横向、梯段台阶式开挖,人工风钻或潜孔钻打眼,浅孔或深孔松动爆破,挖掘机或装载机装渣,自卸汽车运输。边坡部位采用……
    
   为防止飞石的出现,爆破时岩体表面及上空采取炮口覆盖和柔性防护相结合的方式进行防护。即在爆区爆破体上设置……
    
   石方爆破安全实施措施
    
   1、爆破材料的运输、储存、销毁、使用,严格按国家、行业、地方的法律法规、规程规范以及业主的有关要求执行。
    
   2、炮孔的装药、堵塞、联网以及点火起爆,必须由经考核合格、持证上岗的爆破员按爆破图、操作规程规定进行施工,其他人杜绝操作施工。
    
   3、爆破作业应执行放炮联系通知单制度。放炮联系通知单经双方签字方为有效。接到通知单的单位,要按放炮时间做好避炮准备工作,防止因……
    
   ……
    
   涵洞工程安全实施措施
    
   1、涵洞施工时每道工序或每个作业面施工前,项目经理、作业段施工负责人及安全员除向施工人员进行常规的施工安全操作交底外,还应根据施工内容进行针对性的安全操作交底,并同时做好书面记录。
    
   2、起重机械及挖掘机必须严格按有关安全规程进行操作,所有起吊索具有6倍以上的安全系数,捆绑钢丝绳必须具有10倍以上的安全系数。
    
   ……
    
   共计66页(20)
    
    
   
  
   
  
   
    线路所经地区地形地貌分布
    
   
    标准横断面图
    
   
    施工工艺流程图
    
   
    防护排架示意图
    
   
    果林、农田等爆破地段,进行表面覆盖
    
   
    光面爆破示意图
    
   
  
 
第 1 张图   
第 2 张图   
第 3 张图   
第 4 张图   
第 5 张图   
第 6 张图   以上是部分图纸截图,有些图框没有放大后再截图,可能截图里不清晰或者看不到内容,您可以在下载后查看具体内容 
 
 温馨提示:该资料由网友于2020-2-7 22:00:58上传分享,您可以下载该资料进行学习和参考,如有侵权内容或者违法行为,请及时联系站长删除,如有疑问,您可以在建筑施工专区发帖交流相关知识。
 
	
 |