豆豆网

 找回密码
 立即注册

QQ登录

只需一步,快速开始

查看: 1656|回复: 0

24x11米6层板式花园住宅楼建筑施工CAD图纸

[复制链接]

0

主题

0

帖子

1351

积分

超级版主

Rank: 8Rank: 8

积分
1351
发表于 2020-1-21 22:43:25 | 显示全部楼层 |阅读模式

该帖子包含附件可供参考学习和下载,您可以 搜索 更多您想要的资源


  • 住宅类型(型体):板式
  • 商业:无
  • 建筑高度类型:多层建筑
  • 图纸设计深度:施工图
  • 项目所在地:江西
  • 图纸设计风格:欧陆风格
  • 图纸设计流派:新古典
  • 图纸设计格式:天正建筑CAD 7.0,CAD2000
  • 参考图纸:29张
  • 建筑设计面积:3031平方米
  • 占地面积:903平方米
  • 建筑高度:18.85m
  • 地上层数:6层
  • 设计效果图:无

附件详情

[江西新余]某六层板式花园住宅楼 建筑施工 图——29张CAD

户型:三室两厅两卫
标准单元开间x进深:24x11米

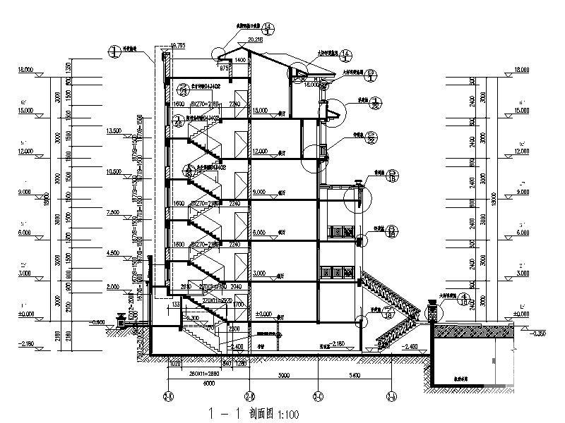
该资料包含:建筑设计说明、建筑节能设计说明、门窗表、一层平面图、二~六层平面图、屋顶层平面图、立面图、剖面图、楼梯间立面大样、节点详图

图2

图3

二层平面图

三层平面图

节点详图

建筑节能设计说明 - 1
第 1 张图
建筑节能设计说明 - 2
第 2 张图
建筑节能设计说明 - 3
第 3 张图
建筑节能设计说明 - 4
第 4 张图
建筑节能设计说明 - 5
第 5 张图
以上是部分图纸截图,有些图框没有放大后再截图,可能截图里不清晰或者看不到内容,您可以在下载后查看具体内容

温馨提示:该资料由网友于2020-1-21 22:43:25上传分享,您可以下载该资料进行学习和参考,如有侵权内容或者违法行为,请及时联系站长删除,如有疑问,您可以在居住建筑专区发帖交流相关知识。

附件2099v11ed120fdceew21sfcfss.rar

4.27 MB

下载  售价: 100 积分    赚积分

建筑节能设计说明相关帖子

回复

使用道具 举报

您需要登录后才可以回帖 登录 | 立即注册

本版积分规则

QQ|联系我们|豆豆网 ( 苏ICP备20004746号-1 )

GMT+8, 2025-12-24 02:39 , Processed in 0.018017 second(s), 27 queries .

本站所有内容均由网友自主分享,如有侵权内容或者违法行为,请及时联系站长删除,本站将根据实际情况进行积分奖励!请查看:免责声明

快速回复 返回顶部 返回列表