15层办公大楼全套采暖设计施工CAD大样图

  • 设计详细说明:有
  • 建筑类别:办公,其他
  • 建筑高度类型:高层建筑
  • 建筑设计面积:49331.12平方米
  • 建筑地上层数:15层
  • 建筑地下层数:1层
  • 图纸设计深度:施工图
  • 参考图纸:26张
  • 设计年代:近代
  • 设计内容:采暖
  • 冷热源:市政热网
  • 采暖系统:散热器供暖,热水辐射
  • 水系统:双管制
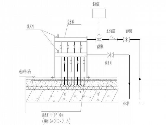
  • 节点大样:集分水器
  • 项目所在地:辽宁

附件详情

  • 采暖设计说明及图例
  • 地下一采暖干管平面图
  • 地热盘管干管平面图
  • 屋顶机房采暖平面图
  • 地热盘管平面图
  • 地热采暖系统原理图

附件详情

稿件为辽宁某市政单位业务技术用房及警务技能训练基地采暖设计施工图纸;总建筑面积49331.12平方米,主体建筑为十五层,地下一层,建筑总高度69.00米;该项目建筑物耐火等级为地上部分为一级,地下部分为一级。
设计内容:该大楼的采暖系统设计;地上地面辐射采暖系统,地下一层采用散热器采暖,采暖系统形式采用上供上回双管顺流式系统。

,图纸共26张。

地热采暖系统原理图

地面辐射供暖分水器大样图

地热盘管平面图

办公楼地热施工图纸

以下是附件的其中一部分截图,共5张,您也可以 搜索 更多您想要的资源
  • 办公大楼施工设计 - 1
    办公大楼施工设计 - 1
  • 办公大楼施工设计 - 2
    办公大楼施工设计 - 2
  • 办公大楼施工设计 - 3
    办公大楼施工设计 - 3
  • 办公大楼施工设计 - 4
    办公大楼施工设计 - 4
  • 办公大楼施工设计 - 5
    办公大楼施工设计 - 5
以上是部分截图,请下载附件后查看完整高清内容
网站首页  |  关于我们  |  联系方式  |  帮助中心  |  免责声明  |  广告服务  |  网站留言  |  违规举报  | 
本站所有内容均由网友自主分享,仅供学习和参考,如有侵权内容或者违法行为,请及时联系站长删除。