豆豆网

 找回密码
 立即注册

QQ登录

只需一步,快速开始

查看: 1668|回复: 0

一份11层综合建筑给排水CAD施工图纸

[复制链接]

0

主题

0

帖子

1322

积分

超级版主

Rank: 8Rank: 8

积分
1322
发表于 2020-3-2 20:16:02 | 显示全部楼层 |阅读模式

该帖子包含附件可供参考学习和下载,您可以 搜索 更多您想要的资源


  • 附件设计说明:有
  • 建筑类别:综合建筑
  • 建筑层数:高层建筑
  • 建筑高度:40.4m
  • 地上楼层:11层
  • 地下楼层:1层
  • 设计阶段:施工图设计
  • 供水方式:市政供水,变频供水设备,其他供水方式
  • 供水分区:两区
  • 污废水排水体制:合流
  • 设计内容:给水系统,热水系统,循环冷却水系统,污水排水系统,雨水排水系统,消火栓系统,喷淋系统
  • 地下室:车库
  • 设置场所火灾危险等级:中危险级Ⅱ级
  • 参考图纸:20-50张

附件详情

  • 1、给排水设计施工说明
  • 2、给排水、消火栓、自动喷淋平面图
  • 3、给水、热水、排水、雨水、冷凝水、消火栓、自动喷淋管道系统图
  • 4、卫生间给排水大样图
  • 5、水泵房给排水管道大样图 剖面图
  • 6、水泵房剖面图 基础,套管定位图

附件详情

本建筑地下一层为汽车库,地上一、二层为餐饮、办公及商业并联店,三层为洗浴休闲及办公,四至十一层北楼为办公区,南楼为宾馆。该资料范围包括建筑单体内部生活给水、生活污水、生活热水、空调冷凝水、雨水、消火栓,自动喷淋管道系统,灭火器系统。设计年:

2#、3#楼一层自动喷淋平面图

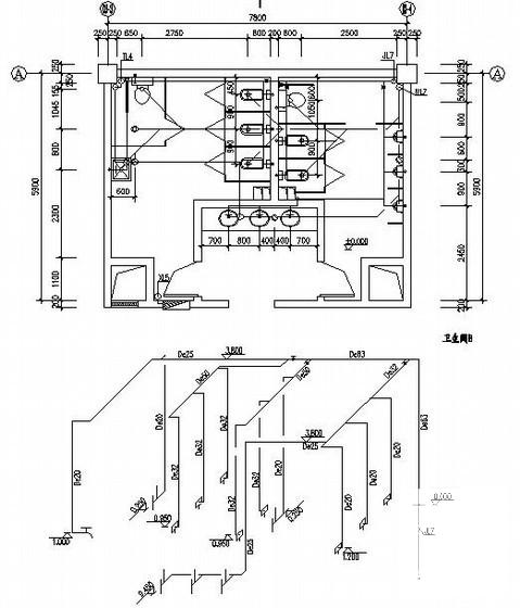
卫生间给排水管道大样图

水泵房剖面图

热水管道系统图

水泵房给排水管道大样图

第 1 张图
第 1 张图
第 2 张图
第 2 张图
第 3 张图
第 3 张图
第 4 张图
第 4 张图
第 5 张图
第 5 张图
以上是部分图纸截图,有些图框没有放大后再截图,可能截图里不清晰或者看不到内容,您可以在下载后查看具体内容

温馨提示:该资料由网友于2020-3-2 20:16:02上传分享,您可以下载该资料进行学习和参考,如有侵权内容或者违法行为,请及时联系站长删除,如有疑问,您可以在给水排水专区发帖交流相关知识。

附件2099v11edc0e1cdw21w1cfc211.rar

4.45 MB

下载  售价: 100 积分    赚积分

相关帖子

回复

使用道具 举报

您需要登录后才可以回帖 登录 | 立即注册

本版积分规则

QQ|联系我们|豆豆网 ( 苏ICP备20004746号-1 )

GMT+8, 2025-12-28 07:15 , Processed in 0.014882 second(s), 28 queries .

本站所有内容均由网友自主分享,如有侵权内容或者违法行为,请及时联系站长删除,本站将根据实际情况进行积分奖励!请查看:免责声明

快速回复 返回顶部 返回列表