豆豆网

 找回密码
 立即注册

QQ登录

只需一步,快速开始

查看: 1914|回复: 0

住宅楼通风及防排烟系统暖通CAD施工图纸

[复制链接]

0

主题

0

帖子

1579

积分

超级版主

Rank: 8Rank: 8

积分
1579
发表于 2020-2-28 17:34:07 | 显示全部楼层 |阅读模式

该帖子包含附件可供参考学习和下载,您可以 搜索 更多您想要的资源


  • 附件设计说明:有
  • 建筑类别:住宅
  • 建筑高度类型:高层建筑
  • 建筑设计面积:75000平方米
  • 建筑地上层数:18层
  • 建筑地下层数:1层
  • 图纸设计深度:施工图
  • 参考图纸:44张
  • 设计年代:近代
  • 设计内容:通风, 防排烟
  • 项目所在地:四川

附件详情

  • 设计及施工说明
  • 加压送风系统平面图
  • 加压送风系统自动控制示意图
  • 加压送风系统流程图
  • 栋楼电梯屋顶层加压送风系统平面图
  • 栋屋顶层通风及加压送风系统平面图
  • .......

附件详情

一、项目概况:
资料内容共含4栋住宅楼及特大型停车库。住宅楼建筑面积约为75000m2,住宅建筑高度为54.90m,地上18层,地下1层。车库总建筑面积16450.65m2,其中非机动车库面积为2211.5m2,非机动车库位于8、9栋半地下室,该项目等级为一级,设计正常使用年限为50年,地下一层。
本施工图设计内容主要为子项住宅楼的通风及防排烟系统设计。燃气系统由专业燃气公司进行设计。住户内部的通风及空调设备由用户自行购买。
二、通风排烟系统设计说明
1.住宅楼通风排烟系统
该项目B户型封闭楼梯间满足自然排烟条件;消防电梯间前室不满足自然排烟条件,故设置机械加压送风系统,加压送风机位于屋面上;C户型防烟楼梯间防烟楼梯间及合用前室均不满足自然排烟条件,故分别设置机械加压送风系统,合用前室加压送风机位于屋面上,合用前室加压送风机位于电梯机房屋面上。
该项目电梯机房设置玻璃钢轴流通风机进行排风,换气次数为10次/h。
2.地下车库防排烟系统设计
地下车库为一层,按防火分区设置机械排烟系统,并兼做平时排风系统。由于8、9栋半地下自行车库不满足自然排烟条件,故设置机械排烟系统,每个非机动车库划分区为两个防烟分区,防烟分区面积均不超过500平方米,防烟分区采用顶棚下突出不小于500mm的梁来划分。其余防烟楼梯间、消防电梯间前室及合用前室均不满足自然排烟条件,故分别设置机械加压送风系统。

防烟楼梯间地上和地下分别设置独立的加压送风系统......

,图纸共44张。


屋顶层通风及加压送风系统平面图

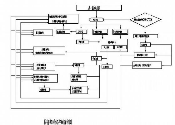
防排烟系统控制流程图

加压送风系统空视图

加压送风系统自动控制示意图

加压送风系统图

第 1 张图
第 1 张图
第 2 张图
第 2 张图
第 3 张图
第 3 张图
第 4 张图
第 4 张图
第 5 张图
第 5 张图
第 6 张图
第 6 张图
以上是部分图纸截图,有些图框没有放大后再截图,可能截图里不清晰或者看不到内容,您可以在下载后查看具体内容

温馨提示:该资料由网友于2020-2-28 17:34:07上传分享,您可以下载该资料进行学习和参考,如有侵权内容或者违法行为,请及时联系站长删除,如有疑问,您可以在居住建筑专区发帖交流相关知识。

附件2099v11ede2f1cfdcce11cfsc2.rar

159.38 KB

下载  售价: 100 积分    赚积分

相关帖子

回复

使用道具 举报

您需要登录后才可以回帖 登录 | 立即注册

本版积分规则

QQ|联系我们|豆豆网 ( 苏ICP备20004746号-1 )

GMT+8, 2025-12-27 21:50 , Processed in 0.016950 second(s), 27 queries .

本站所有内容均由网友自主分享,如有侵权内容或者违法行为,请及时联系站长删除,本站将根据实际情况进行积分奖励!请查看:免责声明

快速回复 返回顶部 返回列表